
对固定在试验夹具中的抽芯铆钉或击芯铆钉试件,施加剪切载荷或拉力载荷,直至损坏。
对两种试验方法规定了两种试验夹具。3.2.1.1和3.2.2.1规定的夹具可用于常规试验。3.2.1.2和3.2.2.2规定的夹具也可用于常规试验,但有争议时是决定性和仲裁
的试验夹具。
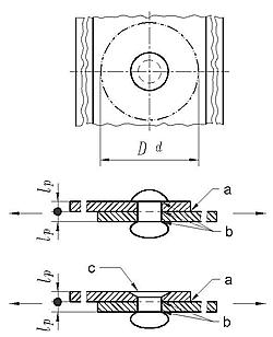
常规剪切试验夹具的基本尺寸见图1。
试验板应由硬度不低于420HV30的钢制成。用适当的钢螺栓将试验板固定在试验机上,使在载荷作用下试验板变形的影响减至最小。
当装铆钉的通孔呈现非圆形、有磨损的痕迹,或损坏或者其尺寸超出表2规定的最大直径时,则该试验板应予报废。
试验板厚度和通孔直径见3.2.3。
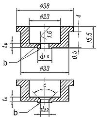
a 表面粗糙度Ra=1.6μm。
b 通孔的棱角处不得有毛剌。
c 沉头角应等于钉体头的公称角度,其公差为 -2°~0°。
d 试件周围最小圆形面积的直径D=25 mm。
图3试验夹具中使用的衬套应符合图2给出的尺寸和表面粗糙度。
衬套应由淬火并回火的钢制成,其最低硬度为700 HV30。装入铆钉试件的夹具应安装在试验机中,并能自动定心。
对每一仲裁试验项目应使用新的衬套。
图3的试验夹具如用于常规试验,当装铆钉的通孔呈现非圆形、有序损的痕迹,或损坏或者其尺寸超出表2规定的最大直径时,则该试验衬套应予报废。
衬套的厚度和通孔尺寸见1.2.3。
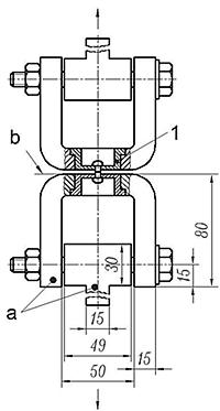
常规拉力试验夹具的基本尺寸见图4。
注:适用的试验夹具示例见附录A。
a d1=2d,d——铆钉公称直径。
b 通孔的棱角处不得有毛剌。
c 沉头角应等于钉体头的公称角度,其公差为-2°~0°。
a 宽度50mm。
a 沉头角应等于钉体头的公称角度,其公差为-2°~0。
b 试件周围最小圆形面积的直径D=25mm。
试验板应由硬度不低于420 HV30的钢制成。用适当的钢螺栓将试验板固定在试验机上,使在载荷作用下试验板变形的影响减至最小。
当装铆钉的通孔呈现非圆形、有磨损的痕迹,或损坏或者其尺寸超出表2规定的最大直径时,则该试验板应予报废。
试验板厚度和通孔直径见1.2.3。
对所有试验夹具,试验板或衬套厚度均应符合表1规定,通孔直径应符合表2规定。
1——衬套(详见图2)。
a 宽度50mm。
b 试验较长的铆钉可增加衬垫。
| 盲铆钉的类型 | 试验板或衬套厚度 | |
| tpamin | tcbmin | |
| 穿越式钉芯 | 0.5dc | 0.75dc |
| 断裂式钉芯(包括伸长的残留部分) | ||
| 非断裂式钉芯 | ||
| 埋入式钉芯 | 0.75dc | 1 |
| 卡紧式钉芯 | 0.65dc | 0.75dc |
| 击入式钉芯 | 0.5dc | 0.75dc |
| 铆钉公称直径 | dh2a | |
| d | max | min |
| 2.4 | 2.6 | 2.55 |
| 3 | 3.2 | 3.15 |
| 3.2 | 3.4 | 3.35 |
| 4 | 4.2 | 4.15 |
| 4.8 | 5 | 4.95 |
| 5 | 5.2 | 5.15 |
| 6 | 6.2 | 6.15 |
| 6.4 | 6.6 | 6.55 |
将两个相同厚度的试验板或试验衬套用铆钉试件柳接成铆接试件。该柳钉应当用铆接工具或抓取机构,按铆钉制造者推荐的安装程序进行铆接。
铆接试件的总厚度不应超过对铆钉试件规定的最大铆合长度。
将铆接试件安装在符合GB/T 3722或GB/T 16491或JB/T 9375的试验机上。
夹具在拉力试验机上应能自动对中,并应保证沿着剪切试件的剪切平面或拉力试件的中心线,直线地施加载荷。
应当持续地施加载荷,试验速度不应低于7mm/min、且不大于13mm/min,直至试件损坏。
最大载荷值应予记录,作为铆钉的最大剪切或拉力载荷。
如在规定的最小剪切或拉力载荷之前铆钉试件损坏,则该铆钉不能通过本试验。
对柳钉最大铆合长度短于表1规定的 2tp min或 2tc min时,试验板或试验衬套的组合厚度应等于铆钉试件规定的最大铆合长度。
试件铆接成型和试验程序应符合3.2的有关规定。试验的评定取决于试验板或试验衬套是否能承受铆钉试件的最大剪切或拉力载荷。所以,对短铆钉的试验数据有下列几种情况:
a 直至铆钉损坏,试验板或试验衬套保持完好无损,则最大载荷数据是该铆钉损坏时的最大剪切或拉力载荷。如该载荷等于或超过规定的最小剪切或拉力载荷,则该铆钉通过本
试验。
b 当载荷等于或超过规定的最小剪切或拉力载荷时,铆钉保持完好无损而试验板或试验衬套损坏,则该铆钉通过本试验。然而,在这种情况下不能确定铆钉的最大剪切或拉力
载荷。
c 当载荷小于规定的最小剪切或拉力载荷时,铆钉保持完好无损而试验板或试验衬套损坏,则该铆钉是否接收可由供需双方协议。
d 在达到规定的最小剪切或拉力载荷之前,钢钉损坏,则该铆钉不能通过本试验。

































































































